February 26 2026 03:16:39
Навигация
· Генеральная

· Материнские платы
· Контроллеры
· CPU - процессоры
· Память - RAM
· Видеокарты
· HDD, SSD, FDD
· CD - DVD - BD
· Звуковые карты
· Охлаждение ПК
· Корпуса ПК
· Электропитание
· Мониторы и ТВ
· Манипуляторы
· Ноутбуки, десктопы

· Интернет
· Принт и скан
· Фото-видео
· Мультимедиа
· Компьютеры - общая
· Программное
· Игры ПК
· Радиодело
· Производители

· Динамики, микрофоны
· Аппаратура

· Телевидение
· Безопасность
· Электроника / Быт
· Телефония
· Пульты - ПДУ
· Создание сайтов

· О сайте wasp.kz...

· Каталог ссылок
Последние статьи
· Компьютеры СССР - ЕС...
· История ЭВМ в Советс...
· MySQL – продолжение…...
· Процессоры Intel их ...
· 3-4-5G - поколения с...
Счетчики




Яндекс.Метрика

- Темы форума
- Комментарии
Просмотр темы
WASP.kz » Бизнес, экономика, производство » Промышленность и производство
 Распечатать тему
Предлагается к промышленному внедрению
TRR
Разные интересные вещи - изобретения, рационализаторские предложения - то, что рекомендуется для внедрения на производство - изготовление и реализация, например.

Чем черт не шутит, авось кто-то и обратит внимание на вашу конструкцию и решит её массово производить? Можно озолотиться! Шок

*

Прожектор

wasp.kz/forum/attachments/25-02-2026-oopppsss-h4.gif

Предлагается к внедрению на производство - Прожектор, содержащий корпус из теплопроводящего материала (например, алюминия), имеющий две прямоугольные ниши, отличающийся тем, что тыльная сторона (на всем протяжении нижней стенки, а также задней и передней закругленной), которого выполнена в виде набора ребер с возможностью увеличения теплоотводящей поверхности.

Кабанов Александр Александрович,
Пак Владимир Аликович
ООО "Политекс"


***
TRR присоединено следующее:изображение:
25-02-2026-oopppsss-h4.gif
 
TRR
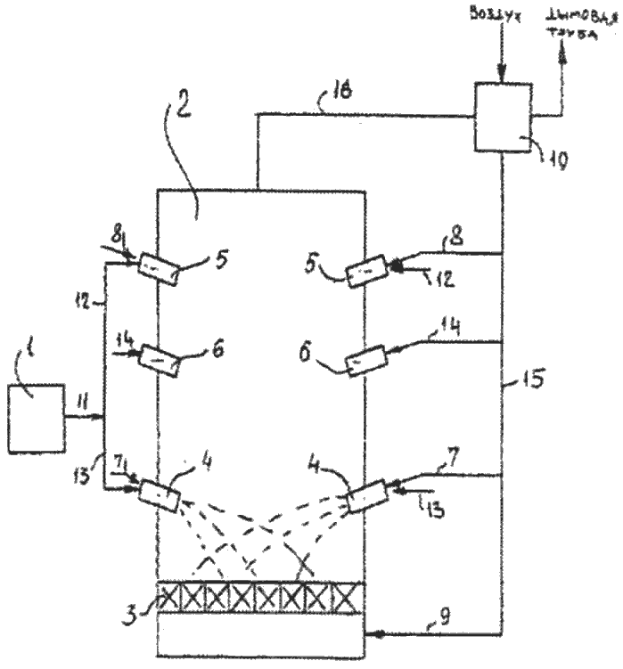
Установка для сжигания водоугольного топлива

wasp.kz/forum/attachments/25-02-2026-oopppsss-h5.gif

Предлагается такое устройство: Установка для сжигания водоугольного топлива, включающая топочную камеру с форсунками факельного сжигания водоугольного топлива, с воздухораспределительной решеткой для сжигания топлива, расходный бак водоугольного топлива, сообщенный трубопроводом с форсунками факельного сжигания, теплообменник для подогрева дымовыми газами дутьего воздуха, сообщенный с трубопроводом подачи одной части нагретого дутьевого воздуха в форсунки факельного сжигания, а другой - под воздухораспределительную решетку, отличающаяся тем, что топочная камера дополнительно снабжена сообщенными трубопроводом с расходным баком водоугольного топлива форсункам подачи водоугольного топлива в образованный на воздухораспределительной решетке низкотемпературный кипящий слой инертного материала, в количестве, составляющем 15-35% от общего расхода водоугольного топлива, и форсунками тангенциальной подачи дополнительного воздуха при работе установки в установившемся режиме, а трубопроводы подачи дутьевого воздуха выполнены с регулирующими устройствами для обеспечения при сжигании водоугольного топлива режима с газификацией или теплового режима сжигания.

Морозов Андрей Геннадьевич,
Карташян Владимир Эдуардович,
Еленевский Евгений Владимирович
Москва, ул. Профсоюзная, 98


***
TRR присоединено следующее:изображение:
25-02-2026-oopppsss-h5.gif
 
TRR
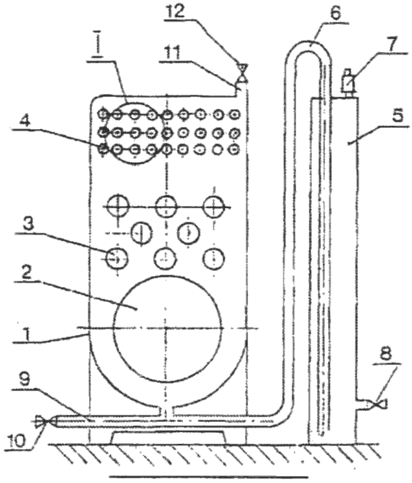
Водогрейный котел

Водогрейный пароконденсационный котел, содержащий герметичный корпус, в нижней части которого размещена топочная камера и дымогарные трубы, а в верхней - теплообменник, выполненный в виде пучка трубок, скомпонованных в коридорном порядке, отличающийся тем, что рабочие участки трубок теплообменника в поперечном сечении выполнены овальной формы, при этом продольная ось овала расположена под углом относительно горизонтальной плоскости.

wasp.kz/forum/attachments/25-02-2026-oopppsss-h6.gif

Зубарев Анатолий Николаевич,
Винокуров Виктор Семенович,
Шаров Вячеслав Алексеевич
ОАО "Нижегородский машиностроительный завод"


***
TRR присоединено следующее:изображение:
25-02-2026-oopppsss-h6.gif
 
TRR
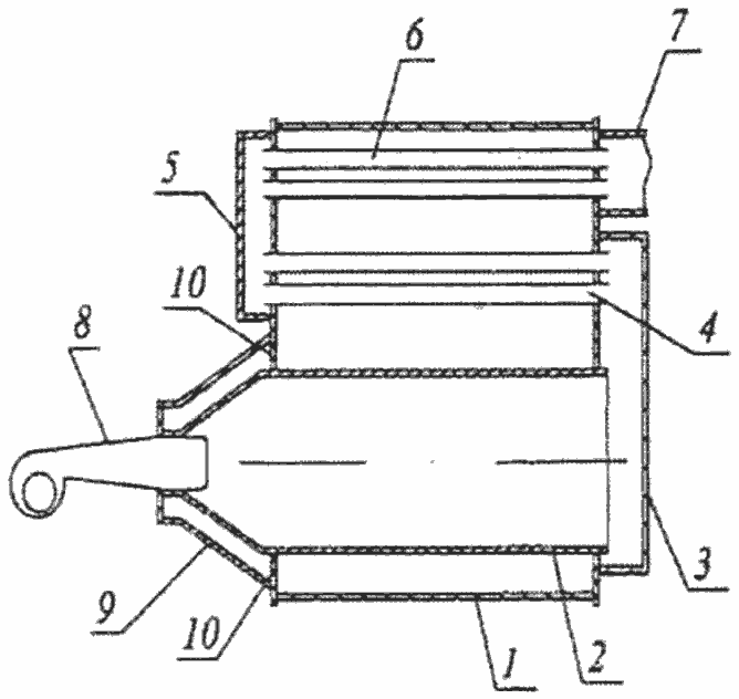
Водогрейный котел

Другая конструкция: Водогрейный котел, содержащий герметичный корпус, в нижней части которого размещена проходная топочная камера, выполненная в виде жаровой трубы с задней поворотной камерой пламени, а в верхней части - конвективный газоход, состоящий из дымогарных труб с передней поворотной камерой продуктов сгорания топлива, короб для отвода дымовых газов, отличающийся тем, что корпус котла в месте установки горелки снабжен полым конусным кожухом, причем горелка закреплена со стороны основания конуса меньшего диаметра, а внутренняя полость кожуха сообщена с внутренним объемом корпуса котла.

wasp.kz/forum/attachments/25-02-2026-oopppsss-h7.gif

Сергеенко Николай Михайлович,
Подпругин Сергей Григорьевич
ОАО "Нижегородский машиностроительный завод"


***
TRR присоединено следующее:изображение:
25-02-2026-oopppsss-h7.gif
 
Перейти на форум:
Авторизация
Логин

Пароль



Вы не зарегистрированы?
Нажмите здесь для регистрации.

Забыли пароль?
Запросите новый здесь.
Реклама Google




Letzte Kommentare
News
Снова ЧП в наших горах...
Трамп не рискнул напас...
Ну Трамп губешки раска...
Мадуро уже во многом п...
Трамп быстро протрезве...
Artikel
Есть похожий, но Hitac...
Так и электромобили у ...
А на вид неплохой корп...
У сестры несколько лет...
А как можно приспособи...
Fotos
Помощник врачу Учен...
«Домашняя» ЭВМ Опыт...
Поломка оказалась в то...
Специалисты по эргоном...
Точно сказано - испоха...
Eigene Seiten
Не - но это реально. Б...
Курильщиков везде зажи...
Это времен Холодной во...
Ничего не понятно! Но ...
Да... долго я этот уча...
Время загрузки: 0.61 секунд - 26 Запросов 93,814,942 уникальных посетителей